地址:河南长垣蒲西区华瑞路西段
联系人:李经理
手机:13986210055
电话:0373-8818188
传真:0373-8881886
邮箱:w76518@126.com
河南省隆力机械有限公司
一、用途,特征
在带式输送机中,托辊用于支承输送带和输送带上的物料,减少输送带的运行阻力,并且保证输送带的垂度不超过技术规定,使输送带沿预定的方向平稳运行。因此托辊是带式输送机的重要部件之一。为减小托辊噪音,我公司采用**的制作工艺,具体如下:
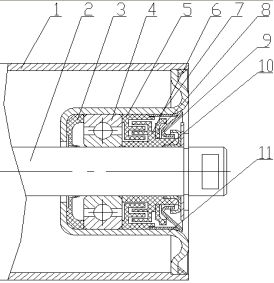
低噪音托辊的结构如图所示,主要包括管体、轴、轴承、轴承座、密封结构等组成,轴承布置在托辊管体的内部托辊轴的两端,由托辊支架支撑,要做出高质量的低噪音托辊,每个部分制作装配起着重要的作用。

1-管体;2-轴;3-挡环;4-轴承;5-迷宫型内密封圈;6-迷宫型外密封圈;
7-内密封圈;8-外密封圈;9-外盖;10-挡圈;11-轴承座
托辊的结构
管体一般由无缝钢管或焊接托辊专用钢管制造,前者制造的管体由于钢管的壁厚不均匀,运行时易产生附加动载荷,使输送带产生振动,同时使轴承及密封件过早破坏,一般只适用于低速运行的输送机。焊接托辊专用钢管的管壁比较均匀,运行过程中相对平稳,在高带速运行下噪音减小较多。
轴承座主要有铸造式和冲压式两种。铸造式轴承座的优点是厚度大、刚性强、配合面精度较高,但是重量较大,托辊转动灵活性一般,转动时噪音较高。冲压轴承座的重量轻、配合面精度高,托辊转动灵活性高、转动时噪音较低。
托辊轴承一般选用钢珠轴承、我公司选择小游隙专用轴承,以改善轴承的工作状态,减小托辊的运转阻力,降低托辊的转动噪音。
托辊密封结构的好坏直接影响到托辊的旋转阻力和使用寿命,高速运行中密封结构的尤为重要。
润滑脂除起到润滑作用外,还起密封作用。生产中主要采用钙基润滑脂、钠基润滑脂、锂基润滑脂三种,保持托辊的良好润滑状态。
二、技术性能
(1)密封结构:托辊一般运行在潮湿多尘的恶劣环境下,为了减小旋转阻力,托辊的密封结构选择的是迷宫式密封。在高速运行的情况下,由于内摩擦的存在,必然导致热量的产生,引起轴承内密封腔内温度的升高,随着温度的升高润滑脂出现汽化现象。托辊停止运行后,随着温度降低轴承密封腔内气压下降,从而产生吸气过程,伴随着吸气过程,大量的粉尘颗粒进入轴承密封腔内导致润滑脂的污染和干化,从而加快轴承的磨损。润滑脂随汽化现象不断发生而逐渐减少到一定程度后,轴承将在干摩擦状态下运行,这势必加剧轴承的磨损,大大缩短托辊的使用寿命。
(2)径向跳动量:托辊的径向圆跳动的产生主要由两点引起:托辊管体的选择及管体、主轴、轴承座等部件的加工影响。
(3)旋转阻力:除密封结构、各部件的材料选择外,旋转阻力的产生很大程度上源自于托辊的加工装配,其中各部件的同轴度对托辊的旋转阻力有着明显的影响。
径向跳动量与旋转阻力的大小很大程度上是与托辊的机械加工质量相关的。机械加工质量主要是指机械加工精度和表面质量。加工精度指的是零件在加工后的实际几何参数(尺寸、几何形状和表面相互位置)与理想零件的几何参数相符合的程度,其符合程度越高,则要求加工精度越高,其差别即为加工误差。表面质量是指零件表面几何特征和物理力学性能,主要包括表面粗糙度、波度和表面层的物理力学性能。机械加工质量对零件的耐磨性、配合性质、零件疲劳强度、耐腐蚀性能、工作精度都有着重要的影响。生产实践中,任何的加工方法都不可能把零件做的绝对准确,我们要做的就是尽量把加工误差降到更小、表面质量做到更好。
根据上述托辊的性能指标及其制约托辊高速运转的因素,参考以往托辊的设计结构,提出高速托辊的结构选用方案。这种结构选用了带防尘盖的深沟球轴承,采取了迷宫式密封与接触式密封的复合结构,增强了托辊的防水防尘密封性能,密封部件采用了高分子材料,减小了重量和旋转阻力,降低了功耗,确保高速托辊的可靠运行。
![GSTFI6]DN45@N533D(H$72H](/Uploads/image/20160926/1474851557738517.png)